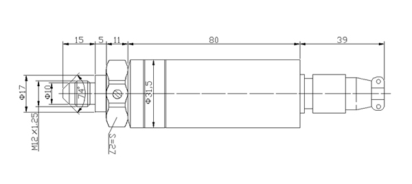
FPL-308 型航空航天专用蓝宝石压力变送器
|
||||||||||||||||||||||||||||||||||||||
FPL-308 型航空航天专用蓝宝石压力变送器
|
||||||||||||||||||||||||||||||||||||||
FPL-308 型航空航天专用蓝宝石压力变送器
|
||||||||||||||||||||||||||||||||||||||
FPL-308 型航空航天专用蓝宝石压力变送器
|
||||||||||||||||||||||||||||||||||||||
FPL-308 型航空航天专用蓝宝石压力变送器
|
||||||||||||||||||||||||||||||||||||||

京公网安备 11011402011664号 京ICP备09029331号-22 QQ:987268138 E-mail:wjxyxy@126.com